NKC(株式会社エヌケーシー)新潟県 三条市!奇跡の会社が作った奇跡のセット



この ANGLE WRENCH SET を作った NKC は、
新潟県・三条市にあった小規模な工具メーカーです。
従業員はわずか8名ほど。
数多くの特許を取得し独自技術を持った職人集団でした。
特に有名なのが、ギアレス構造の静音ラチェット。
大手メーカーにはない、独創的な機構を数多く生み出しています。
残念ながら NKC は2013年に廃業し、
公式サイトも閉鎖され、資料もほとんど残っていません。
この ANGLE WRENCH SET は、
そんな NKC が残した“幻の工具”のひとつです。


メインハンドル

ロック付きのフレックスハンドル
構造的にはいわゆる「ブレーカバー、スピンナハンドル」と同じ
とても精密で豪華なブレーカーバーだといます
NKC製品全般的に言えることなんですが、工具の制度というより測定器の精度を感じリ質感です。
とても滑らかに稼働します。


差込角は1/4DR
一般的な1/4DRと互換性があります。
リングロック方式ですがちょっと長めです。
リングの位置は通常のディンプルの位置より少し奥になります。
ディンプルのない製品との組み合わせて使う時にいい仕事してくれます。
全長は160.8㎜
刻印は「NKC AGE PAT.P」
PAT.P=特許出願中の刻印。Patent Pending(特許出願中)
AGE=Angle(アングル)なのかな?




90°差し替えることが出来ます。フレックスベントとしても、アングルレンチとしても使えます。

ギアレスラチェットヘッド



NKCといえばギアレスレンチ「LIBERAL RATCHT HANDLE」
多分同じ構造。
ハンドルに取り付けて使います。
通常のベント、首振りタイプとして使えます。
とてもしっかりしていて遊びが少ないので使用感はとても良いです。
1/4インチスクエアなので横方向の強度に多くは期待できないかもしれません。
仮締め用を割り切ったほうが安全だと思います。
向きを変えてアングルレンチのようにも使えます。
空転トルクは重め(グリスが若干硬い)ですが、遊びがほぼ無く振り角0°が効いてくる場面がありそうです。







スパナ(オープン)ヘッド


5サイズ(8mm, 10mm, 12mm, 13mm, 14mm)
1/4DR。ディンプル無しです。
刻印、NKCの刻印とサイズの刻印のみ
最高級のメッキ。
とても品の良いナーリング(ローレット)加工。
医療機器や製図用の製品のような手触りが丁寧な仕事を感じさせてくれます。
サイズも秘本でよく使うセットです。
横に穴が空いていますが一般的なディンプルの位置ではなく、リングの位置になります。
強度を保つためだと思います。に少し長めのアンピルを深く差し込む構造です。




メガネ(リング)ヘッド


5サイズ(8mm, 10mm, 12mm, 13mm, 14mm(全サイズ14ノッチ))
これもNKCの代表作。ラチェットメガネレンチと同じ構造です。
ヌメッとした使用感。カチカチだはなくポコポコした音。
ギアレスではなくノッチがあります。
全サイズ14ノッチ(数えてみたら~なので多少の誤差はあるかもしれません)
多ギアの製品やギアレス品と比べるべくもない、ふり角25.7°
その使用感は独特で品のある使用感です。
もったいなくて使えませんが西洋の高給ラチェットと比べても特別感の有る感触です。
エンジニア達の情熱と努力の結晶。
この感触から確かに伝わってきます。


刻印は、NGC サイズ RBC PAT.D
ほぼ同じ構造と思われるチェットコンビネーションレンチ刻まれているコード
GERMAN PAT 3406063



🔍 DE3406063A1 の内容(要点)
この特許の本質は👇
👉 ボールやローラーを使った“低衝撃・静音ラチェット機構”
特徴:通常の爪ラチェットより
👉 静か
👉 滑らか
👉 コンパクト
歯車+ボール(またはローラー)
スプリングで押し付ける構造


RBC意味?
👉 RBC = この機構を指す、NKC内部コードの可能性が大きい
👉 ボール式ラチェットクラッチ機構
- R = Retained / Ratchet
- B = Ball
- C = Clutch




パッケージ
専用木製ケース(真鍮風ヒンジ・NKCゴールドロゴプレート付き)
高給なノギスケースのうようなケースがまた目数気心をくすぐります。


仕様・明細
| 項目 | 仕様・詳細 |
| メーカー | NKC(エヌケーシー) ※現在廃業 |
| 製品名 | ANGLE WRENCH SET(アングルレンチセット) |
| パッケージ | 専用木製ケース(真鍮風ヒンジ・NKCゴールドロゴプレート付き) |
| 駆動方式 | ギアレス(ワンウェイクラッチ) ボールやローラー(低衝撃・静音ラチェット機構) |
| 差込角 | 1/4DR(6.35㎜) |
| セット内容(全12点) | |
| 1. メインハンドル | 1本(首振りスイベル機構・スクエアドライブ付き)全長160.8㎜ |
| 2. ギアレスラチェットヘッド | 1個(着脱式・正逆切替プッシュボタン式) |
| 3. スパナ(オープン)ヘッド | 5サイズ(8mm, 10mm, 12mm, 13mm, 14mm) |
| 4. メガネ(リング)ヘッド | 5サイズ(8mm, 10mm, 12mm, 13mm, 14mm) |
| 主な特徴 | ・送り角ゼロの無段階ギアレスラチェット ・ヘッド交換による多彩なアクセス(クローフットレンチ機能) ・他社製品(KTC nepros等)や一般ソケットとの互換性あり |
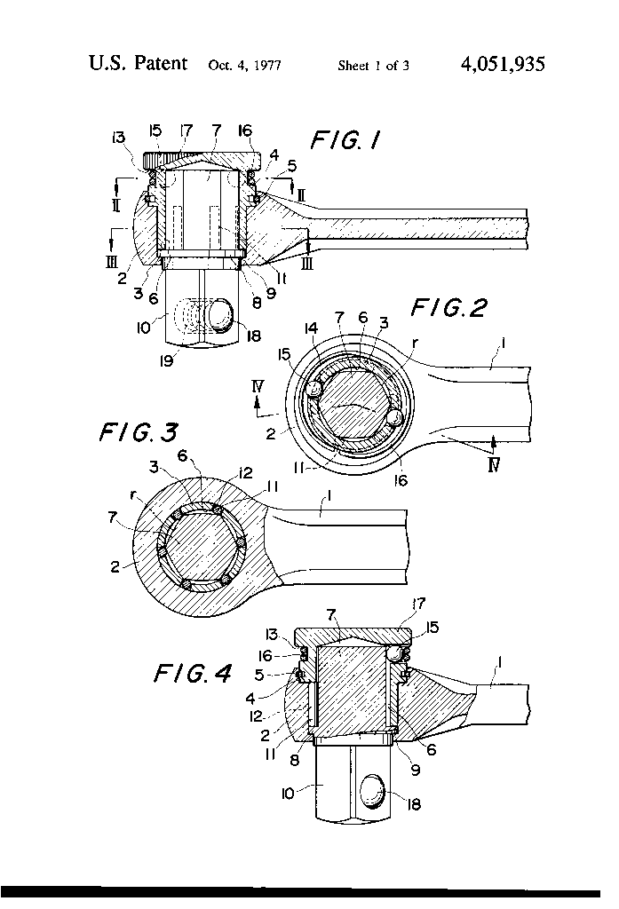
図1(page-2.png)― 米国特許 US4051935A Sheet 1 of 3
FIG.1〜4:全体断面図および各部断面図(米国特許US4051935Aより引用)
FIG.1(縦断面)では、ヘッド内部にギアが存在せず、六角軸(7)の周囲をローラー(11)が取り囲む構造が確認できます。FIG.2(上面断面)は、ローラーが六角軸の各面に均等に配置されている様子を示します。FIG.3(中間断面)では外筒(3)とローラーの位置関係が、FIG.4(縦断面・別角度)では切り替えリング(5)や保持機構全体の層状構造がわかります。

図2(page-3.png)― 米国特許 US4051935A Sheet 2 of 3
FIG.5:全パーツの分解斜視図(米国特許US4051935Aより引用)
初期型のシンプルな構成を示す分解図です。最上部のリング(5・16)から、ローラー保持リング(3・4)、ニードルローラ(11)、六角軸(7)、そしてハンドル本体(1・2)まで、全パーツの形状と積層順序が一目でわかります。日本特許版(NKC.png)と比較すると、切り替えダイヤルや鍔盤などの改良が加わる前の、原型となる構造であることが確認できます。

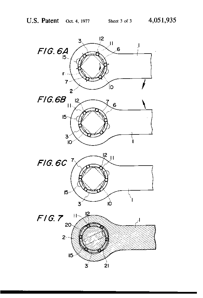
図4(page-4.png)― 米国特許 US4051935A Sheet 3 of 3
FIG.6A〜6C・FIG.7:楔効果の動作原理図(米国特許US4051935Aより引用)
このレンチの核心をなす「楔(くさび)効果」をコマ送りで示した図です。
- FIG.6A:ローラー(15)が六角軸(7)の各面の中央(隙間が最も広い位置)にある状態。矢印はレンチを戻す方向を示しており、この状態では空回りします。
- FIG.6B:レンチを締め付け方向に回すと、ローラーが六角軸の角(隙間が急に狭くなる部分)に食い込み、完全にロックされた状態。
- FIG.6C:ローラーが反対側の角に移動した状態。切り替え後の逆方向ロックを示します。
- FIG.7:固定リング不要の簡略版バリエーション。ハンドル本体(1)の穴に直接ローラーを収める、よりコンパクトな構造案を示しています。

(NKC.png)― 日本特許 特開平5-96473号 分解斜視図
NKCギアレスレンチの内部構造を示す分解斜視図(特開平5-96473号より引用)
上から順に積み重なるパーツ構成がよくわかる一枚です。最上部の摘み(16)を押しながら回すことで、円環体(5・6・7・8・9)が横にシフトし、ニードルローラ(10)の位置が切り替わります。最下部には、ソケットを差し込む四角軸(13)と一体になった六角軸(11)、および方向保持用の鍔盤(14・15)が確認できます。

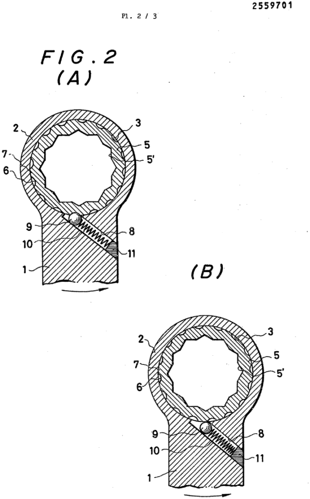
📄 フランス特許 FR2559701「ラチェット機構付きめがねレンチ」図面解説
特許番号:FR2559701(フランス特許) 分類:手工具 / スパナ・レンチ類
🔧 この特許について
本特許は、**ラチェット機構を内蔵しためがねレンチ(コンビネーションスパナ)**に関するフランス特許です。片端がオープンエンド(口型)、もう片端にラチェット付きリングヘッドを備えた複合工具で、狭い場所でも工具を外さずに連続作業できる点が特徴です。
📐 各図の解説
Fig. 1(全体外観図)

コンビネーションスパナ全体の外観を示しています。
| 参照番号 | 説明 |
|---|---|
| 1 | ハンドル(グリップ部) |
| 2 | リングヘッド本体(外周壁) |
| 3 | リテーナリング(ラチェットホイール保持用) |
| 4 | オープンエンド(口型スパナ部) |
| 5 / 5′ | リングヘッド上下のフランジ部 |
右端のリングヘッドにラチェット歯車が内蔵されており、左端は従来型の口型スパナになっています。
Fig. 2(A)(B)(ラチェット動作の断面図)

リングヘッド内部の断面を示し、ラチェットの作動方向の違いを比較しています。
- (A) ハンドルを一方向(→)に回したとき:ラチェットホイール(6)がポール(爪、9)と噛み合い、トルクを伝達します。
- (B) ハンドルを逆方向(←)に回したとき:ポールがラチェット歯をすり抜け(空転)、ナットを外さずに戻し動作が可能です。
| 参照番号 | 説明 |
|---|---|
| 6 | ラチェットホイール(外歯付き回転輪) |
| 7 | 内多角形(ナット・ボルト係合部) |
| 8 | ポールを収めるキャビティ(溝) |
| 9 | ポール(爪)=ラチェット爪部材 |
| 10 | バネ(ポールを押し付ける弾性体) |
| 11 | ストッパー部材 |
Fig. 3 / Fig. 4(詳細断面図)

Fig.3はFig.2(A)に対応し、締め付け方向の断面状態を示します。ポール(9)がラチェットホイール(6)の外歯に複数点で噛み合い、高いトルクに耐えられる設計になっています。
Fig.4ではポール(9)に加え補助ポール(9’)が確認でき、爪部材を2段構成にすることでより多くの歯と接触し、伝達トルクを向上させる工夫が読み取れます。
💡 技術的なポイント
従来のラチェットスパナでは爪(ポール)が1歯のみに接触するため伝達トルクが小さく、過負荷時に爪が破損しやすいという課題がありました。本特許の構造では、複数歯同時噛み合いとスプリング付きポール機構により、以下を実現しています:
- ✅ 高トルク伝達
- ✅ 狭所での連続作業(工具の付け替え不要)
- ✅ シンプルかつコンパクトなヘッド構造
出典:WIPO PatentScope / FR2559701



コメント